Rivian heeft patent aangevraagd op verwarmde LED-lenzen op basis van koolstofnanobuisjes

Rivian heeft patent aangevraagd op verwarmde LED-lenzen op basis van koolstofnanobuisjes
Rivian R2. Bron: Rivian

Bezitters van een elektrische auto van Rivian klagen vaak over ijsvorming op LED-koplampen. Dit is een veelvoorkomend probleem bij dit type koplampen, dat ook bij andere merken wordt aangetroffen. Maar het lijkt erop dat de Amerikaanse fabrikant van elektrische pick-ups en SUV's een originele oplossing heeft bedacht - verwarmde lenzen.

Dit is wat we weten

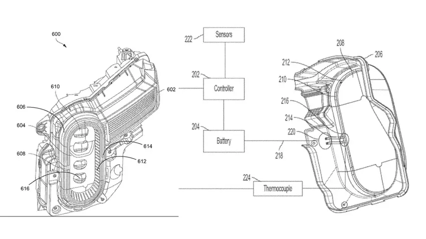
De aanvraag werd in juni 2023 ingediend bij het US Patent and Trademark Office (USPTO) en in december 2024 openbaar gemaakt. Het document werd onder onze aandacht gebracht door onze collega's bij Motor Authority. Hierin staat dat Rivian overweegt om een verwarmingselement toe te voegen dat warmte door de lens verspreidt dankzij geïntegreerde koolstofnanobuizen.

Schematische voorstelling van Rivian koplamp met verwarmde LED-lens.
Schematische afbeelding van een Rivian koplamp met een verwarmde LED-lens. Bron: Motor Authority

Rivian had het probleem op de ouderwetse manier kunnen oplossen door verwarmde koplampreinigingssproeiers te installeren, maar verwarmde lenzen lijken een elegantere en technologisch geavanceerdere oplossing. De nanobuisjes zijn zo gekozen dat ze de doorgang van licht door de lens niet belemmeren. Het zal echter interessant zijn om te zien wat Rivian daadwerkelijk in productie neemt.

De patenttekeningen tonen een koplamp met een typisch Rivian ontwerp, dus het is onduidelijk of het bedoeld is voor de R1, R2 of R3.

Bron: Motor Authority

var _paq = window._paq = window._paq || []; _paq.push(['trackPageView']); _paq.push(['enableLinkTracking']); (function() { var u='//mm.magnet.kiev.ua/'; _paq.push(['setTrackerUrl', u+'matomo.php']); _paq.push(['setSiteId', '22']); var d=document, g=d.createElement('script'), s=d.getElementsByTagName('script')[0]; g.async=true; g.src=u+'matomo.js'; s.parentNode.insertBefore(g,s); })();