Galaxy Ring kan straks worden opgeladen via een smartphone - Samsung patenteert nieuwe technologie

Galaxy Ring kan straks worden opgeladen via een smartphone - Samsung patenteert nieuwe technologie
Gepatenteerde Samsung Galaxy Ring opladen via een sleuf in een smartphone. Bron: Samsung

Samsung biedt Galaxy Ring-gebruikers mogelijk een nieuwe oplaadmethode.

Dit is wat we weten

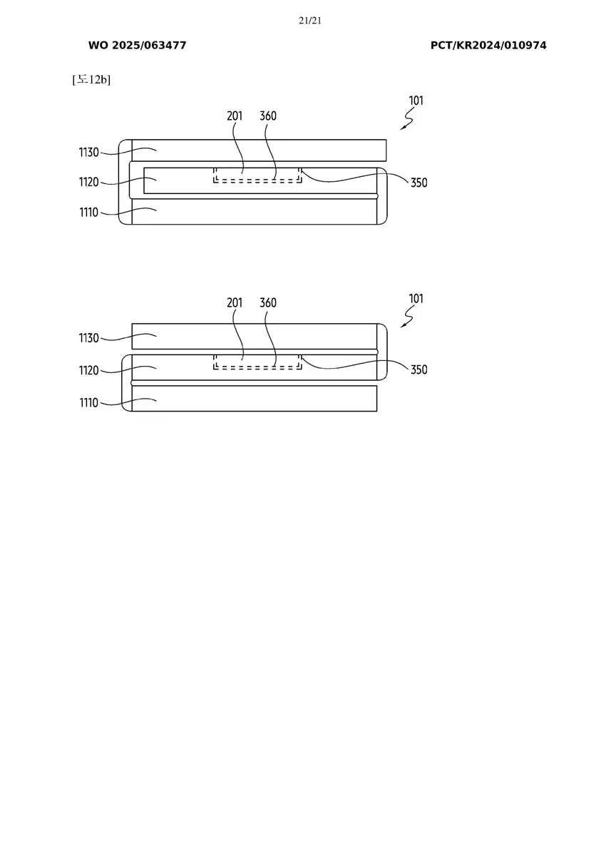
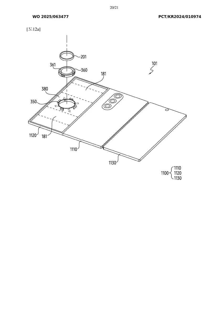
Volgens een recente patentaanvraag van Samsung, gepubliceerd door de World Intellectual Property Organisation (WIPO), overweegt het bedrijf om de Galaxy Ring op te laden via een speciale gleuf aan de achterkant van de Galaxy smartphone.

Bovendien zal de slimme ring tijdens het opladen gezondheids- en fysieke activiteitsgegevens kunnen doorsturen naar de telefoon.

Het patent specificeert niet of deze sleuf direct in de smartphone wordt ingebouwd of deel uitmaakt van een speciale behuizing. De diagrammen beschrijven echter zowel stijve als flexibele smartphoneontwerpen of hoesjes die de Galaxy Ring direct kunnen opladen.

1
2
3
4

Op dit moment kan de Galaxy Ring alleen worden opgeladen met een speciaal oplaadetui dat wordt aangesloten via USB-C of draadloos opladen. Als alternatief kan het oplaadetui op de achterkant van een Galaxy smartphone met Wireless PowerShare worden geplaatst voor stroom.

Als de technologie die wordt voorgesteld in het patent werkelijkheid wordt, zal de Galaxy Ring direct kunnen worden opgeladen via de smartphone of het hoesje, waardoor er geen oplaadetui meer nodig is. Tegelijkertijd kan de implementatie van deze methode bepaalde problemen met zich meebrengen: de oplaadsleuf zal de smartphone dikker maken of het bedrijf dwingen om de locatie van interne componenten te veranderen. Het kan ook de kosten van smartphones verhogen, wat gebruikers die niet van plan zijn om een Galaxy Ring te kopen niet zal aanspreken.

Bron: WIPO

var _paq = window._paq = window._paq || []; _paq.push(['trackPageView']); _paq.push(['enableLinkTracking']); (function() { var u='//mm.magnet.kiev.ua/'; _paq.push(['setTrackerUrl', u+'matomo.php']); _paq.push(['setSiteId', '22']); var d=document, g=d.createElement('script'), s=d.getElementsByTagName('script')[0]; g.async=true; g.src=u+'matomo.js'; s.parentNode.insertBefore(g,s); })();