Ford heeft patent aangevraagd op een mock-up van een handgeschakelde versnellingspook voor elektrische auto's

Ford heeft patent aangevraagd op een mock-up van een handgeschakelde versnellingspook voor elektrische auto's
Handmatige versnellingspook op Ford Focus (2011). Bron: Ford

Elektrische auto's accelereren onmiddellijk en hoeven niet te schakelen. Maar Ford vond dat te saai en patenteerde een handgeschakelde versnellingspook voor EV's. De daadwerkelijke versnellingsbakverhoudingen veranderen niet, maar het creëert de illusie van schakelen voor liefhebbers van ouderwets autorijden.

Dit is wat we weten

Het patent, getiteld"Shifter Assembly For Electric Vehicle", gepubliceerd op 20 maart, beschrijft een klassieke versnellingspook die aan de vloer wordt bevestigd, net als in een oude Ford Mustang. Maar in plaats van een verbinding te maken met een handgeschakelde versnellingsbak, stuurt deze gewoon signalen door naar een elektronische controller die het motorkoppel varieert. Dat wil zeggen, de bestuurder beweegt de hendel alsof hij schakelt en de elektronica simuleert pauzes in het vermogen om het gevoel van een handgeschakelde versnellingsbak van een auto met een verbrandingsmotor te creëren.

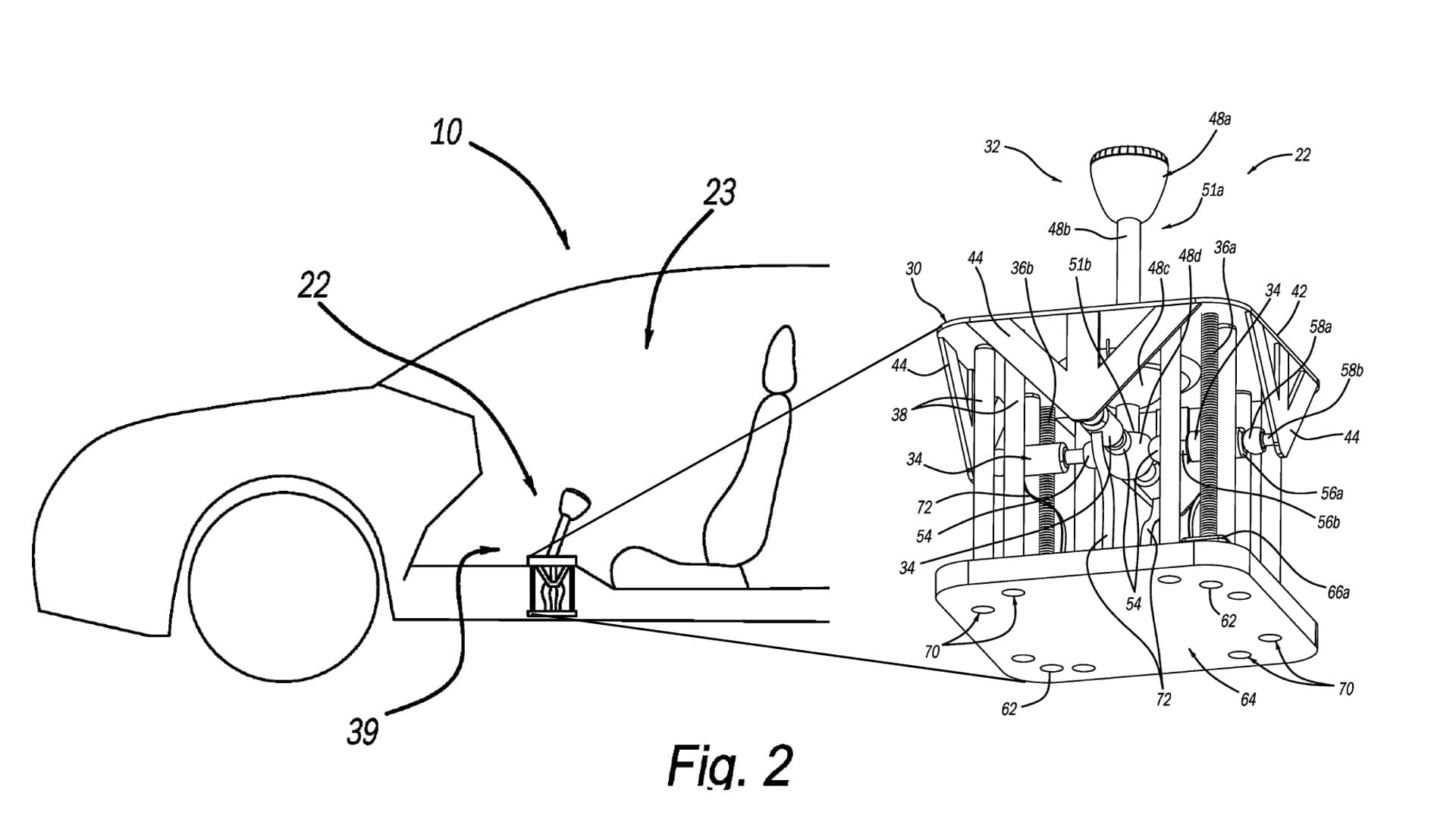
Schema van een mechanische transmissiesimulator voor elektrische voertuigen uit patentdocumentatie
Schema van een mechanische transmissiesimulator voor elektrische auto's uit de patentdocumenten. Illustratie: Ford

Het idee is niet nieuw: Hyundai heeft al een soortgelijk effect gerealiseerd in de Ioniq 5 N met behulp van peddels, en Toyota test een elektrische auto met een koppelingssimulator en zelfs de mogelijkheid om af te slaan. Ford is echter de andere kant opgegaan - kleine motoren zijn ingebouwd in de basis van de versnellingspook, die weerstand toevoegen bij het schakelen voor een volledige sensatie.

Voorlopig is het nog maar een patent. Het was oorspronkelijk ingediend voor 2023, dus Ford denkt hier al een tijdje over na. Of dit idee het haalt tot productieauto's is onbekend.

Bron: InsideEVs

var _paq = window._paq = window._paq || []; _paq.push(['trackPageView']); _paq.push(['enableLinkTracking']); (function() { var u='//mm.magnet.kiev.ua/'; _paq.push(['setTrackerUrl', u+'matomo.php']); _paq.push(['setSiteId', '22']); var d=document, g=d.createElement('script'), s=d.getElementsByTagName('script')[0]; g.async=true; g.src=u+'matomo.js'; s.parentNode.insertBefore(g,s); })();