Apple heeft een patent gekregen voor een scharnier van de volgende generatie voor een mogelijke opvouwbare iPhone of iPad

Apple heeft een patent gekregen voor een scharnier van de volgende generatie voor een mogelijke opvouwbare iPhone of iPad
Opvouwbaar iPhone-concept. Bron: Michal Dufka

Apple heeft een nieuw patent gekregen voor een scharnier voor opvouwbare apparaten dat kan worden gebruikt in smartphones, tablets, laptops en zelfs draagbare apparaten.

Dit is wat we weten

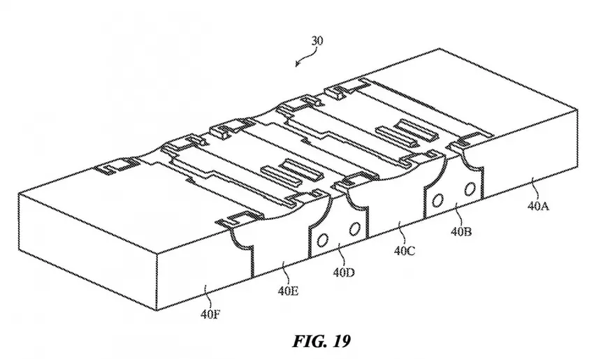
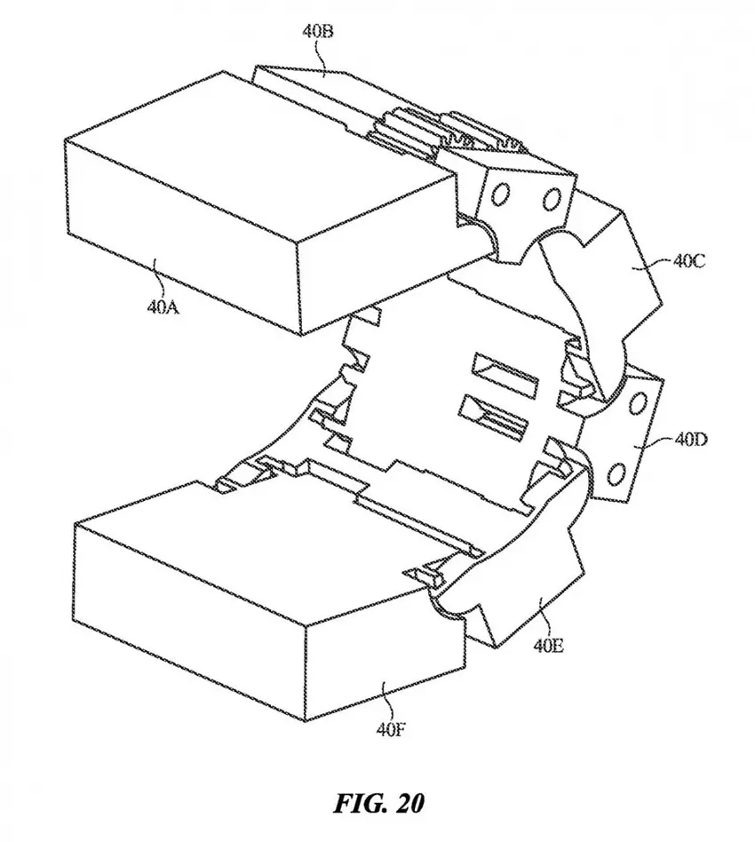
Het patent beschrijft een reeks in elkaar grijpende schakels gevormd door verbonden "vingers" en een wrijvingskoppeling. Een belangrijk kenmerk is het gebruik van halvemaanvormige sleuven die ervoor zorgen dat elke schakel kan draaien ten opzichte van de andere, waardoor de rotatie-as voorbij de schakel zelf komt. Dit zorgt voor soepel en evenwichtig vouwen van de eenheid met precies de juiste hoeveelheid wrijving. Het scharnier bevat ook synchroniserende tandwielplaten die ervoor zorgen dat beide kanten van het scharnier gelijkmatig draaien.

1
2
3
4
5

Apple heeft al eerder gemeld dat het werkt aan een opvouwbare iPhone en grotere opvouwbare apparaten zoals de iPad en MacBook, maar heeft technische uitdagingen ondervonden bij het ontwikkelen van het beeldscherm en de mechanische onderdelen. Het nieuwe patent zou het bedrijf kunnen helpen deze uitdagingen te overwinnen en de duurzaamheid en functionaliteit van zijn toekomstige opvouwbare apparaten te verbeteren.

Bron: GSMArena

var _paq = window._paq = window._paq || []; _paq.push(['trackPageView']); _paq.push(['enableLinkTracking']); (function() { var u='//mm.magnet.kiev.ua/'; _paq.push(['setTrackerUrl', u+'matomo.php']); _paq.push(['setSiteId', '22']); var d=document, g=d.createElement('script'), s=d.getElementsByTagName('script')[0]; g.async=true; g.src=u+'matomo.js'; s.parentNode.insertBefore(g,s); })();