Een nieuw patent heeft onthuld dat HONOR werkt aan een nieuwe smartphone met een schuifbaar scherm

Een nieuw patent heeft onthuld dat HONOR werkt aan een nieuwe smartphone met een schuifbaar scherm
HONOR Magie V3. Bron: HONOR

Volgens de laatste informatie werkt HONOR mogelijk aan zijn eigen smartphone met schuifscherm.

Dit is wat we weten

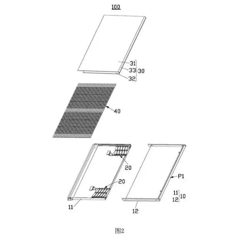
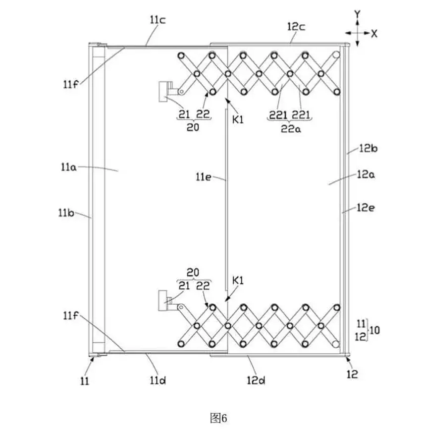
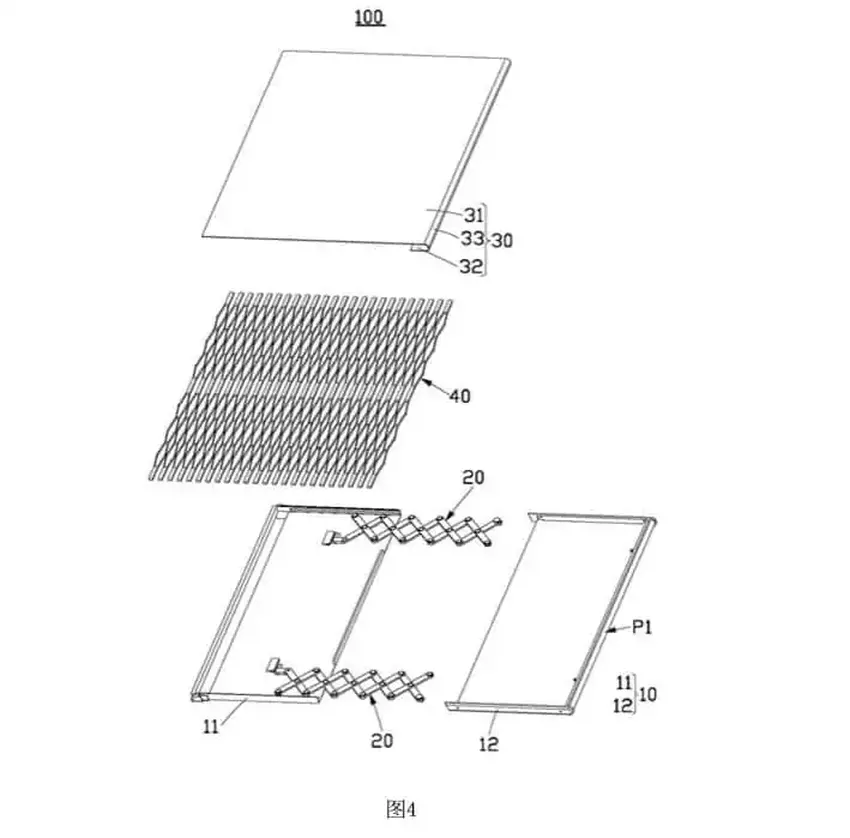
Er is onlangs een patent ontdekt dat geregistreerd is bij de CNIPA (China National Intellectual Property Administration) dat wijst op de ontwikkeling van een apparaat met een schuivend of glijdend scherm. Volgens het patent bestaat het scherm uit twee delen: het ene blijft stilstaan en het andere schuift opzij. Deze delen worden verbonden en vastgezet door elastische balken, waardoor het scherm soepel kan bewegen.

1
2
3

HONOR heeft al grote stappen gezet op het gebied van opvouwbare smartphones met de HONOR Magic V3, de dunste en lichtste opvouwbare telefoon op de markt. Nu wil het bedrijf zijn expertise ook toepassen op het gebied van schuifschermen.

Tot nu toe heeft nog geen enkel bedrijf een commercieel verkrijgbare smartphone met een schuifbaar scherm gelanceerd, hoewel OPPO en LG concepten van dergelijke toestellen hebben laten zien. Of HONOR zijn succes met schuifschermen kan herhalen, zal de tijd leren.

Bron: ithome, 91mobiles

var _paq = window._paq = window._paq || []; _paq.push(['trackPageView']); _paq.push(['enableLinkTracking']); (function() { var u='//mm.magnet.kiev.ua/'; _paq.push(['setTrackerUrl', u+'matomo.php']); _paq.push(['setSiteId', '22']); var d=document, g=d.createElement('script'), s=d.getElementsByTagName('script')[0]; g.async=true; g.src=u+'matomo.js'; s.parentNode.insertBefore(g,s); })();