Apple wil een opvouwbare iPhone ontwikkelen met een scherm dat zelfherstellend is

Apple wil een opvouwbare iPhone ontwikkelen met een scherm dat zelfherstellend is

Apple heeft een patent aangevraagd voor een opvouwbaar scherm dat zichzelf kan herstellen van krassen en deuken zonder tussenkomst van de gebruiker of prikkels van buitenaf.

Dit is wat we weten

Dit patent wijst op een mogelijke functie van een toekomstig opvouwbaar apparaat van Apple. Het patent beschrijft een apparaat met een opvouwbaar scherm dat zelfherstellend is, wat van alles zou kunnen zijn, van een laptop of tablet tot een smartphone, beeldscherm of draagbaar apparaat.

Het zelfherstellende materiaal, dat krassen en deuken kan repareren, kan de hele displaylaag bedekken of alleen het flexibele/buigbare deel van het display. Apple beschrijft ook hoe de reparatie gebeurt: het zelfherstellende materiaal kan zonder commando's in een laag zelfherstellend materiaal worden aangebracht (bijvoorbeeld wanneer een coating een deuk oploopt, kan het coatingmateriaal de deuk zelfs zonder externe interventie opvullen).

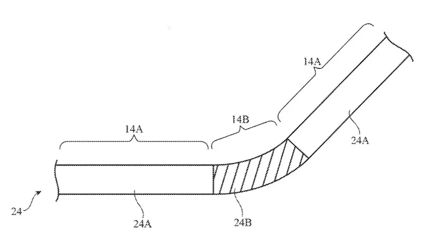
Eén voorbeeld is een beeldscherm dat bestaat uit twee vaste delen met een flexibel element ertussen.

Het vermogen tot zelfverwarming kan optreden tijdens bedraad/draadloos opladen of volgens een vooraf bepaald schema. Dit zou een geweldig idee zijn voor opvouwbare telefoonschermen, omdat ze door hun plastic aard vatbaarder zijn voor krassen dan conventionele glazen schermen. Het is echter de moeite waard om te benadrukken dat dit slechts een patent is, dus er is geen garantie dat Apple deze technologie zal toepassen op een toekomstig opvouwbaar apparaat.

Bron: AppleInsider

var _paq = window._paq = window._paq || []; _paq.push(['trackPageView']); _paq.push(['enableLinkTracking']); (function() { var u='//mm.magnet.kiev.ua/'; _paq.push(['setTrackerUrl', u+'matomo.php']); _paq.push(['setSiteId', '22']); var d=document, g=d.createElement('script'), s=d.getElementsByTagName('script')[0]; g.async=true; g.src=u+'matomo.js'; s.parentNode.insertBefore(g,s); })();